OROLOGI ELETTRICI
OROLOGI ELETTRICI

 

INCABLOC / SHOCK ABSORBERS / INCAFLEX

 

-=oOo=-

 

Nei tradizionali orologi meccanici il “tallone d’Achille”  è sempre stato l’asse del bilanciere:  in caso di forti urti o cadute è facilmente soggetto a rotture. Guardiamo com’è fatto schematicamente  (immagine tratta da Wikipedia):

in verticale si vede l’asse, nel quale è inserito perpendicolarmente (jn orizzontale) il volano con la sua molla

 

E’ comprensibile come il volano, per le sue dimensioni nel senso del diametro, nel caso oscilli fortemente, ripercuota sull’asse (per il principio della leva)  una notevole spinta angolare, creando una forte torsione  

 

L’asse del bilanciere ruota su sottili perni inseriti in rubini incastonati nel  movimento (di solito  fra la platina – main plate  - ed un apposito ponte) e tendono quindi a rompersi

Per ovviare a questo  inconveniente sono stati inventati numerosi sistemi di protezione detti “shock absorbers”,  il più famoso dei quali è forse l’ “Incabloc” (chi non ha avuto un orologio meccanico a carica manuale che, oltre alla marca ed alla dicitura 17 jewels, riportava anche la scritta incabloc?)

 

Se ne possono vedere alcuni fra quelli storicamente più diffusi nelle immagini che seguono:

 

 

INCABLOC

 

Il principio è quello di rendere “mobili” i rubini sui quali ruota l’asse del bilanciere

 

All’invenzione giunse la “Société Porte-Echappement Universel SA”, fondata nel 1931 da Georges Braunschweig e Fritz Marti, denominata “Portescap SA” nel 1963 ed infine “Incabloc SA” nel 1988.La Sede è sempre stata nel cuore della "Silicon Valley" dell’orologeria svizzera, a La Chaux-de-Fonds

 

L’Incabloc fu creato nel 1933, è un sistema brevettato, tuttora prodotto nella sua evoluzione

 

Il sito web ufficiale della Società (pagina relativa alla storia) è:

 

http://www.incabloc.ch/fr/historique.php

 

qui sotto un divertente annuncio pubblicitario del 1954:

 

 

 

 

 

Quest’altra pubblicità è del 1967 e mostra bene gli elementi del sistema:

 

 

-=oOo=-

 

L' INCABLOC "IN AZIONE"

 

 

Per comprenderne esattamente il funzionamento non c’è nulla di meglio che vederlo in azione. Nell’interessantissimo sito clock-watch.de (tecnicamente davvero molto valido) è riprodotta un’immagine del sistema, non solo ingrandito nelle sue parti (viste in sezione), ma che, anche, riproduce visivamente la sua funzione con un click del mouse:

 

http://www.clock-watch.de/index.html?html/tec/sto/inc.htm

 

 

 

 

 

interessantissimo un recente post sul forum:

 

http://orologi.forumfree.it/?t=69229853&st=15

 

vi viene anche citato un video dell’ Istituto Luce sull’incabloc:

 

https://www.youtube.com/watch?v=XNT_Dk7L_-0

 

 

 

-=oOo=-

 

ho reperito le documentazione del brevetto originale (Brevet Suisse n. 168494)

sul sito ufficiale della Portescap SA è citato anche un brevetto precedente (CH 141098 del Luglio 1929), evidentemente un primo tentativo di realizzare un dispositivo elastico mobile a protezione dell'asse del bilanciere

riporto qui sotto la prima pagina dei rispettivi documenti  e le immagini allegate

 

 

 

-=oOo=-

 

DISPLAY DIMOSTRATIVO INCABLOC - 1

 

 

questo oggetto molto curioso e particolare, alto 14 cm e largo ca. 12, è assai curato nei dettagli e nei materiali - in plexyglass con parti in ottone,  e, facendo oscillare il "bilanciere" - ovvero simulando un urto che ne provochi lo scuotimento, mostra come i "rubini" posti sul suo asse si spostano - lateralmente e coassialmente - per "assorbire" lo schock  

 

sganciando la molla elastica "a forma di lira" (è la denominazione ufficiale: Ressort-lyre © ) si può smontare un elemento che rappresenta - in un solo pezzo -  il castone mobile, il rubino forato nel quale si inserisce il perno dell'asse del bilanciere e l'ulteriore rubino detto "contro-pivot" - che, purtroppo, non si possono vedere separati

ho eseguito l'operazione sul fronte del modello (foto 4 ) e sul retro (foto 5)

togliere la vite presente sulla parte posteriore non mostra altri dettagli (foto 6)

 

NOTA: la " Ressort-lyre © " rimane agganciata da un lato, come avviene effettivamente, per semplificare le operazioni di oliatura dell'asse del bilanciere

 

nelle successive immagini il medesimo intervento eseguito "dal vivo" sull'INCABLOC di un Dynotron (ESA 9154):

 

  7 -  il bilanciere 

  8 - particolare dell'INCABLOC

  9 -  la " Ressort-lyre © " sganciata

10 -  il blocco rubini-castone mobile separato dal movimento

 

la carta millimetrata da' un'idea delle dimensioni

 

 

 

-=oOo=-

 

DISPLAY DIMOSTRATIVO INCABLOC - 2

 

 

tempo dopo aver scritto il testo di cui sopra ho avuto l'occasione di acquistare un altro oggetto simile, meno attrattivo esteticamente ma più "funzionale", in quanto è possibile separare anche gli elementi che formano il blocco composto dai due rubini (compreso quello detto contro-pivot) ed il castone mobile, e consente di sganciare quest'ultimo dalla piastra che rappresenta il ponte del bilanciere, sfilando una staffa a forma di "U" - effettivamente presente fra i componenti del sistema (quantomeno in alcune versioni [*])

 

[3 Giugno 2017 - testo da correggere e completare]

 

[* NOTA: si veda ad esempio l'ultimo link riportato nel seguito del testo, sotto le immagini]

 

 

 

sul sito della Portescap SA si può vedere un'ottima rappresentazione dei vari elementi, questo è il link diretto:

 

http://www.incabloc.ch/images/systeme_incabloc_big.jpg

 

a questo indirizzo è visibile una pubblicità d'epoca - con, non solo, i singoli componenti, ma anche la descrizione dei medesimi:  

 

http://www.xtremeshack.com/photos/c92c6f19.jpg

 

sul seguente Forum è riportata una tabella dei ricambi disponibili per varie versioni dell'Incabloc:

 

http://www.orologiko.it/forum/viewtopic.php?t=14942

 

 

 

 

 

INCAFLEX

 

 

L' “Incaflex” della Wyler (adottato in Italia dalla Wyler-Vetta) ha sempre lo scopo di evitare rotture ai perni dell'asse del bilanciere, ma è molto diverso il principio sul quale si basa  e non esclude  il contemporaneo utilizzo di un dispositivo antichoc come l'Incabloc 

  

se ne fa cenno anche alla voce dedicata alla Casa nella sezione "produttori-marchi - elenco alfabetico" 

 

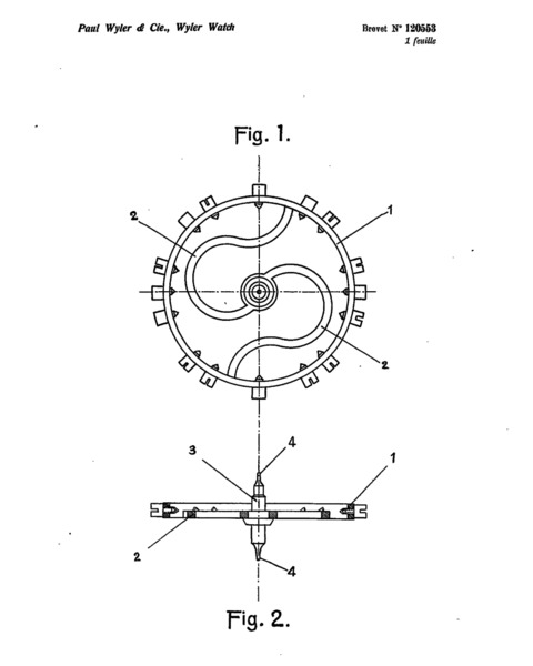
L’idea –  brevettata nel 1932 - riguarda la forma del volano del bilanciere, creato in maniera di flettersi elasticamente, così da non trasmettere al suo asse, in maniera critica, la vibrazione derivante da eventuali urti

 

A tal fine si è realizzata la forma visibile nelle immagini qui sotto (movimento completo e ponte con il relativo bilanciere, smontati): 

 

 

L’invenzione fu davvero rivoluzionaria e la fama di robustezza del sistema divenne quasi leggenda 

 

Al proposito si racconta che Innocente Binda, fondatore della Vetta, viaggiasse per le strade di Milano con degli orologi equipaggiati con l’Incaflex attaccati con corde dietro alla propria vettura

 

La Casa organizzò poi spettacolari dimostrazioni: nel 1956, alla presenza di un notaio, ne vennero fatti cadere due esemplari dalla Tour Eiffel, atterrando dopo un volo di 300 metri, ammaccati ma funzionanti;  l’esperimento fu ripetuto nel 1962 dalla torre “Space Needle” di Seattle (180 metri)

 

Riporto l’indirizzo di due Fora riguardanti in particolare l’incaflex  (già richiamati nella sezione relativa a produttori e marchi):

 

http://www.offwatch.it/phpBB3/viewtopic.php?t=683&p=9624

 

http://forums.watchuseek.com/f11/wyler-incaflex-260252.html

 

 

 

-=oOo=-

 

anche qui la patente di brevetto e i disegni allegati (Brevet Suisse n. 120553)

 

riporto anche un articolo comparso sul quotidiano  "La Stampa" del 28 Maggio 2016: nel parlare del rilancio del marchio Wyler Vetta lo si associa indissolubilmente all'Incaflex

 

sotto, un orologino Wyler Incaflex

 

 

 

 

 

 

JEMAFLEX

 

mi è capitato di vedere dei modelli BULER con l'indicazione "Beryllium Balance - Jemaflex" (talora con l'ulteriore indicazione: "Nivarox")

presentano un bilanciere sagomato in maniera particolare (un po' simile all'Incaflex)

se ne parla p.es. alle pagine:

 

http://www.offwatch.it/phpBB3/viewtopic.php?t=10619

 

http://www.thewatchforum.co.uk/index.php?/topic/29018-what-is-a-beryllium-balance/

 

sembra fosse una soluzione adottata in via esclusiva da Buler, tuttavia non è citata neppure sul sito ufficiale della Casa:

 

http://www.buler.ch/en/brand/history.html

 

non ho trovato documentazione specifica al riguardo

 

si può vedere un movimento con lo Jemaflex (in questo caso un calibro 65 della Ebosa), smontato nelle sue parti, al seguente link:

 

http://www.newdwf.com/viewtopic.php?f=67&t=7747

 

[da completare]

 

 

 

(da Wikimedia commons)

 

DURABALANCE

 

un'altra soluzione particolare (in tempi successivi alle precedenti: si parla del 1958) venne adottata dall'americana ELGIN, in particolare nei calibri automatici 760 e 761 

occorre premettere che l'aspetto di un comune bilanciere è somigliante a quello a lato, con dei contrappesi sul bordo esterno del volano, per renderne il moto il più possibile equilibrato

per consentire una più facile equilibratura del bilanciere (e risolvere contemporaneamente il problema della restistenza gli urti), la Elgin realizzò il "Durabalance" 

"durabalance" in un calibro 761 Elgin

si può vedere la particolare sagoma di questo tipo di bilanciere in un calibro 761

 

immagini complete dell'orologio nella galleria

 

riferimenti (e immagini migliori del "durabalance"):

 

http://elginwatches.org/history/fm.html

 

http://forums.watchuseek.com/f11/made-america-264439.html

 

il brevetto (US 2880570) è rintracciabile all'indirizzo:  

 

https://www.google.it/patents/US2880570?hl=it&dq=elgin+watch+balance

 

in basso i disegni di progetto allegati al documento

 

 

 

 

 

GYROMAX

 

a proposito di bilancieri con contrappesi regolabili non si può non citare anche il  GYROMAX, brevettato dalla Patek Philippe nel 1952

il sistema è allo stesso tempo semplice e geniale: sul volano del bilanciere sono presenti dei perni con dei piccoli pesi a forma di anello (o corona circolare, se volete), con delle intaccature sui lati

la forma è quella visibile nell’immagine a destra

ovviamente, ruotandoli, è possibile effettuare una calibratura precisa (sempre che un bilanciere di questa primaria Maison possa averne bisogno …)

si parla di questo dispositivo su diversi Fora e siti, a partire da Wikipedia (che ne pubblica anche l’immagine schematica riportata nella galleria)

 

lo si può vedere sul sito della Casa, all’indirizzo:

 

http://www.patek.com/en/collection/movements-patents

 

(scorrere la pagina fino ad arrivare al 1952)

 

riporto un altro link molto utile, con un chiaro disegno esplicativo:

 

http://www.timezonewatchschool.com/WatchSchool/Glossary/Glossary%20-%20Balance%20Assembly/Glossary%20-%20Balance%20Assembly%20-%20/Glossary%20-%20Balance%20-%20Gyromax/glossary%20-%20balance%20-%20gyromax.shtml

 

la Patek Philippe depositò due brevetti per questo dispositivo (CH 261431 del 15 Maggio 1949 e CH 280067 del 31 Dicembre 1951) e lo utilizzò a partire dal 1952

 

qui sotto una copia dei documenti di privativa e dei disegni ad essi allegati, oltre ad un ingrandimento del Giromax (figura 1 del brevetto CH 280067)

 

 

 

 

MARCHI E BREVETTI CON DENOMINAZIONE SIMILE

 

 

 

BAGOBLOC

 

sistema di cassa a tenuta stagna brevettato dalla francese MISEREZ (Établissements François Miserez, Società a responsabilità limitata con Sede a Parigi, uffici e stabilimento a Besançon, registrata nel 1959)

se ne parla su:

 

http://forumamontres.forumactif.com/t108473-montre-philippe-automatique

 

http://lallement.com/Montres/viewtopic.php?f=3&t=272&start=58600

 

nella galleria il logo della MISEREZ, la prima pagina del brevetto (FR 1126032A) ed alcuni disegni allegati al medesimo

 

 

 

INCAREX

 

denominazione utilizzata per le molle di carica dalla André Augé & Cie. SARL di Besançon (F), oggi chiamata “AMTE – Augé Mictotecnique” (*)

ho visto tale dicitura sul quadrante di un OREX (marchio registrato nel 1926 dalla Gerber Fréres di Morteau) ed ho fatto qualche ricerca

al seguente indirizzo ho reperito un testo in PDF, relativo alle industrie e le innovazioni nate a Besançon:

 

http://www.besancon.fr/gallery_files/site_1/346/24337/besanconinnovations.pdf

 

da quello ho ricavato l’immagine sottostante, che fa risalire “INCAREX” all’impresa di André Augé (anche se non ne ho trovato una registrazione ufficiale come Marchio):

a nome di André Augé risultano diversi brevetti, fra i quali uno, appunto, riguarda le molle di carica per orologi “rinforzate da una lama flessibile” (N. 1.058.237 depositato l'11 Giugno 1952) 

qui sotto la prima pagina del documento di privativa, un ritaglio della parte evidenziata, con la descrizione dell'oggetto del brevetto, ed i disegni ad esso allegati

infine il marchio INCAREX su di una bustina ed un'etichetta di pezzi di ricambio

 

-=oOo=-

 

(*) NOTA: il sito ufficiale dell'odierna AMTE è:

 

 http://www.amte.com/fr/content/historique-0

 

 

 

 

altri marchi relativi a molle di carica per orologi (si veda anche in fondo alla pagina) :

 

VALOREX   

registrato nel 1924 a nome della STUDER AG di Biel (CH)

 

DUOFLEX 

(non ho notizie precise - marchio visto su diverse buste di molle di ricambio per movimenti vintage, con l'indicazione "molle per orologi - imitazione - fabbricazione svizzera - qualità superiore") 

 

AUROFLEX 

marchio della piccola Casa AUREOLE di La Chaux-de-Fonds (qui sotto il ritaglio di una pubblicità d'epoca)

 

 

VITAFLEX

 

logo visto sul PIERCE con movimento di Manifattura calibro 105 di cui riporto le foto nella galleria  [ © WahaWatches, by courtesy – per gentile concessione]

 

la piccola Maison PIERCE (Léon Lévy et Frères, Biel) è più che nota per diverse soluzioni innovative nei cronografi e nei movimenti automatici, si legga ad esempio:

 

http://www.invenitetfecit.com/modeles/chronographe-pierce.html

 

comunque, non sono riuscito a scoprire se "VITAFLEX" possa essere la denominazione di un modello o se indichi, invece, un qualche particolare specifico dell'orologio

 

riporto quanto sopra per completezza

 

[ NOTA: ho letto la stessa "denominazione" anche su degli orologi a marchio MAJEX]

 

 

SPIROFIX

 

dispositivo di regolazione fine dell'avanzamento/ritardo brevettato dalla nota Maison CORTÉBERT  (inventore: H. Kocher), presente anche su orologi venduti in Italia con il marchio PERSEO

se ne può leggere la descrizione delle caratteristiche e del funzionamento nella riproduzione di una brochure tecnica pubblicata sul Forum:

 

http://www.orologiko.it/forum/viewtopic.php?t=23560

 

CORTÉBERT registrò diversi brevetti per questo "Index regulator set", a partire dal 1948:

US 2663990, US 2729057, US 2637970, DE 840825 e DE 818171

il più esemplificativo è il numero US 2637970 del 12 Maggio 1958 - con concessione della priorità sull’invenzione a far tempo dal deposito (6 Novembre 1948)

riporto nella galleria la prima pagina di quest’ultimo documento di privativa, alcuni disegni tratti dagli allegati – dei quali, ingrandita, la figura 1, che mostra l’insieme del dispositivo

nell’ultima immagine il particolare di un movimento Cortébert calibro 677 con lo “Spirofix”

 

 

CYMAFLEX

 

è uno "shock absorber"  (come l’Incabloc e gli altri riportati all’inizio della pagina)

si veda per esempio sul Forum:  

 

http://forum.horlogerie-suisse.com/viewtopic.php?f=1&t=9450

 

CYMA è un marchio della TAVANNES Watch, titolare di numerosi brevetti riguardanti tale dispositivo, sue evoluzioni e procedimenti di produzione

 

riporto quelli più facilmente reperibili ed i relativi links, ai quali si possono trovare anche i disegni allegati a ciascuna domanda di privativa

 

brevetto USA 2146329 - http://www.google.com/patents/US2146329

brevetto USA 2219068 - http://www.google.com/patents/US2219068

brevetto USA 2294023 -  http://www.google.com/patents/US2294023

brevetto USA 2219067 -  https://www.google.com/patents/US2219067

brevetto USA 2184580 -  https://www.google.com/patents/US2184580

 

nelle immagini qui sotto il “Cymaflex” come progettato nel brevetto US 2294023 A depositato nel 1938, nella raffigurazione pittorica di un’inserzione pubblicitaria dell’epoca e nel dettaglio di un movimento CYMA

 

 

altri dispositivi con denominazioni simili (e la medesima funzione di shock absorber), sono, a puro titolo di esempio : 

 

NOVAFLEX, visto su orologi PRIMATO (marchio della tedesca Ewald Fleck & Co. KG)

ISOFLEX, della Meyer & Stüdeli SA/Roamer Watch Co., CH

 

 

tutt’altra faccenda quando si parla di:

 

NIVAFLEX ® , lega metallica utilizzata in orologeria p.es. per le molle di carica, brevettata dalla Casa svizzera “Générale Ressorts SA”

si può leggere, sul sito ufficiale, anche una tabella con i componenti delle leghe speciali prodotte:

 

http://www.generaleressorts.com/fr/materiaux/nivaflexr

 

della stessa produttrice anche il BIOFLEX ®

 

[NOTA: nella galleria in basso il marchio NIVAFLEX come risulta nella registrazione ufficiale datata 1953, come riportato su di una busta di ricambi e su un quadrante a marchio DROZ con movimento automatico Felsa cal. 4007 (ca. 1955)]

 

 

un marchio con denominazione simile, è:

 

NIVAROX: appartiene ad una fabbrica di componenti per orologi fondata nel 1933 (oggi di proprietà dello Swatch Group), nota soprattutto per i materiali utilizzati nella produzione di molle a spirale per bilancieri

 

se ne parla p.es. su:

 

http://orologi.forumfree.it/?t=8046458

 

http://www.ablogtowatch.com/inside-nivarox-the-heart-of-the-swiss-watch-industry/

 

vedi anche:   https://en.wikipedia.org/wiki/Nivarox

 

 

per la navigazione seguire l'indice principale in alto ed i sottoindici a sinistra

 

cliccando sulla foto del Megasonic sopra il titolo si torna alla homepage

 

si può anche andare direttamente alla mappa del sito:

 

cliccare in basso a sinistra (nella fascia blu subito sopra il ©)

 

oppure qui sotto (si apre un'altra finestra)

utilizzando i vari links si apre un'altra pagina o si viene spostati su quella che viene richiamata nell'indirizzo (a seconda delle Vostre impostazioni)

in quest'ultimo caso per tornare indietro utilizzate l'apposito tasto del browser (anche, il "back" della tastiera, oppure alt + freccia sinistra se usate Chrome)

per essere sicuri di aprire il link in una nuova pagina ("scheda" o "finestra") cliccatevi sopra con il tasto destro del mouse ed utilizzate l'opzione corrispondente 

sTO CARICANDO LE PAGINE E LE IMMAGINI UN PO' PER VOLTA

LA TRATTAZIONE DI MOLTI ARGOMENTI E' ANCORA DA COMPLETARE

IL CONTENUTO E' SOGGETTO A MODIFICHE O REVISIONI

CERCHERO' DI DARE CONTO DEI PROGRESSI NELLA PAGINA "CRONOLOGIA" E SU TWITTER

abbreviazioni usate nel testo (autori e fonti):

 

DO = Doensen, “Watch. History of the modern wristwatch” /

doensen.home.xs4all.nl

EL = electric-watches.co.uk

EK = “Elektrik am Handgelenk”

GW = “Complete Price Guide to Watches” 

CW = crazywatches.pl

KN = hknebel.org

HW = hwynen.de

EW = “Electrifying the wristwatch”

RW = "The electric watch repair manual"

EU = "Elektrische und elektronische Uhren"

Stampa | Mappa del sito
© 2014 - 2022 - F.B.S., Torino, Italia - www.orologi-elettrici.it

questo è un sito amatoriale, senza fini pubblicitari o di lucro
sono state inserite soltanto fotografie scattate personalmente dall'autore o per le quali - se non di pubblico dominio - l'autore ha avuto espressa autorizzazione alla pubblicazione
non vi è alcun collegamento con Case produttrici, rivenditori, distributori e/o relativi marchi