OROLOGI ELETTRICI
OROLOGI ELETTRICI

MOVIMENTI : I VARI CALIBRI

 

 

 -=oOo=-

 

 

 

E – ELETTRONICI A DIAPASON (TUNING FORK)

 

 

riferimenti:

 

http://electric-watches.co.uk/movement-types/tuning-fork/

 

 

1 Bulova Accutron


 

 

1948:  La Bulova Watch Company Switzerland  di Bienne arruola la mente eccezionale dell’Ing. Max Hetzel (nato a Basilea nel 1921 e laureato nel 1946 al Politecnico Federale di Zurigo in ingegneria elettronica) al fine di sviluppare un orologio più preciso di quanto era allora possibile con un normale movimento meccanico. Egli fu il primo ad adottare un transistor in un orologio da polso, arrivando a progettare il primo orologio elettronico al mondo, il Bulova Accutron

1953:  primo modello costruito a mano grazie all’uso del transistor “CK 722” dell’americana Rayton

1954: la Mallory produce la prima batteria utilizzabile in un orologio da polso, il primo prototipo è pronto nel Novembre di quell’anno

1955: sono prodotti a Bienne i primo otto modelli di misura idonea per un orologi da polso

1959: Max Hetzel si trasferisce a New York e sviluppa il progetto insieme con William O. Bennett, riducendo le parti in movimento da 27 a solo 12 (contro le oltre 130 di un orologio meccanico automatico dell’epoca)

1960: il 10 Ottobre viene presentato il calibro 214, che viene messo in vendita il 24 Dicembre

1964-1970: Il Bulova Accutron viene utilizzato con piena soddisfazione dagli astronauti della NASA in diverse missioni Explorer Gemini e Apollo

1970: si ha lo sviluppo e la commercializzazione del calibro 224 con diapason controllato da quarzo (Bulova Accuquartz)

1973: viene raggiunto il numero di 4 milioni di esemplari prodotti di Bulova Accutron

1977: cessa la produzione dell’Accutron, anche se la Bulova utilizza il marchio per modelli successivi

2010: nel 50° anniversario del primo Accutron la Bulova produce la serie limitata ”Anniversary”, uno spaceview con cassa dedicata e componenti residui di magazzino (1000 esemplari al prezzo di 5.000 Franchi Svizzeri o 5.200 Dollari americani)

al proposito si può leggere:

 

http://www.retrothing.com/2010/10/dont-call-it-a-hum-back-accutron-spaceview-214-anniversary-edition.html

 

Calibri e date di sviluppo

 

214     il calibro- base utilizzato in modelli chiusi e scheletrati (“spaceview”), frequenza 360 Hz, batteria al mercurio da 1,30 Volt, spessore del movimento 5,5 mm

214 H  con minimi miglioramenti (1962)

214 HN (1963) ha una sfera addizionale che indica l’ora GMT. montato sui primi due modelli di “Astronaut”, entrambi con una lunetta girevole indicante le 24 ore (nel secondo modello è bicolore, indicando in nero le ore della notte. Il modello fu detto Astronaut day/night)

2140, 2141, 2141 corrispondenti ai calibri 214, 214 H e 214 HN, numerazione utilizzata dal 1968

2143 (1970)

218    evoluzione del 214 (1965), spessore 4,4 mm, non fu usato nei modelli spaceview, a parte un 2181 scheletrato con quadrante modificato in una “corona circolare”, che pare non ebbe successo (v. testo)

218 D con calendario (1965) / 218 S e 218 SC (1967) / 2180 corrispondente al 218 D a partire dal 1967

2180 F (1970) / 2180 G (1972) / 2181 (1968) / 2181 F (1970) / 2181 G (1972) / 2182 (1968) / 2182 F (1970) /  2182 G (1972) / 2183 (1968) / 2183 F (1970) / 2183 G (1972)

2185 (1968), con  sfera addizionale rossa che indica l’ora GMT, impiegato nel modello Astronaut Mark II prima versione

2186  utilizzato nel modello Astronaut Mark II seconda versione, ha un display digitale meccanico visibile in una piccola finestra sopra ore 6 (regolabile da una seconda corona)

 

NOTA: il calibro 218  venne impiegato da Universal Genéve per il suo Unisonic  e da Citizen per l’Hisonic  

 

219 (1972)  il diapason è asimmetrico, una delle forchette ha insieme la fase e la bobina. Calibri derivati: 2191.10, 2192.10 e 2193.10 - utilizzato da Citizen per i suoi calibri 3700, 3701 e 3711

2210 (1973) ha il diapason a forma ricurva, fu disegnato espressamente per orologi da Signora ma utilizzato anche per modelli  da uomo; molto compatto (17mm x 19,5 mm x 4,4 mm), viaggiava a 440 Hz - presentò problemi, la produzione venne presto fermata (*)

2300 presentato nel 1970 e commercializzato dal 1971, il più piccolo movimento al quarzo mai prodotto  (quantomeno per diametro: Ø19,4mm x 5,2mm), anch’esso dedicato agli orologi Lady  ma usato anche per misure da uomo, frequenza: 480 Hz (*)

il diametro è leggermente maggiore nei day/date (2312, 2313): Ø 23,30 mm

224 controllato da quarzo, venne utilizzato nell’Accuquartz  à vedi sezione F

 

[NOTA (*) maggiori dettagli più sotto nelle sezioni dedicate ai calibri 2210 e serie 230]

 

 

all'Accutron è dedicata un'intera sezione del sito di EW, alla pagina:

 

http://electric-watches.co.uk/makers/accutron/

 

fondamentali anche i seguenti siti:

 

http://members.iinet.net.au/~fotoplot/acc.htm

 

http://www.elektron.demon.co.uk/accutron.html

 

interessantissimi due articoli riguardanti in particolare il modello "Astronaut: 

 

http://watchlords.com/forum/viewtopic.php?f=190&t=35708

 

http://mb.nawcc.org/showthread.php?123760-Bulova-Accutron-Astronaut-M2-First-All-Stainless-Steel-Astronaut-Worn-By-X-15-Pilots

 

 

 

 

nella galleria qui sotto alcuni modelli di Accutron, oltre a cinque immagini tratte dai disegni allegati ai brevetti depositati da Bulova (e Max Hetzel) per tutelare l'invenzione del movimento a diapason

 

[testo da correggere e completare ]

 

 

 

IL CALIBRO 221

 

Il meno conosciuto dei vari caibri Accutron è sicuramente il 221 (o: 2210)

disegnato per modelli da Signora, ma di fatto utilizzato anche su orolgi di misura da uomo, è, come detto più sopra, se non il più piccolo movimento al diapason mai realizzato - almeno come diametro -  il più compatto come dimensioni, con il suo spessore di soli 4,40 mm (contro i 5,2 mm del 2300 - e per fare un paragone, i 5,50 mm del cal. 214)

venne prodotto in un numero limitato di esemplari ed è quindi abbastanza raro: secondo alcune fonti presentava problemi e venne presto ritirato dalla produzione

forse era anche meno attrattivo, poichè privo di secondi centrali e del dispositivo di distacco della corrente (estraendo la corona), ed essendo disponibile unicamente nella versione solo tempo

secondo EK aveva un consumo troppo elevato della batteria

comunque, anche se poteva venire alloggiato in casse sottili  e molto strette - avendo il lato inferiore di soli 17 mm - gli venne preferito il calibro 2300, leggermente più spesso e di forma circolare (Ø 19,4 mm)

 

se ne parla per esempio su:

 

http://members.iinet.net.au/~fotoplot/acctech221.htm

 

nelle ultime immagini della galleria le foto di un cal. 2241 misura Lady ("Mini Accutron") acquistato come fondo di magazzino inusato (NOS) e rimesso in funzione

si vede il movimento prima e dopo la pulizia (la batteria aveva perso liquido, per fortuna senza causare danni)

 

la batteria originale era di diametro maggiore di quelle odierne, nell'installarne una nuova occorre fare attenzione che i due "dentelli" presenti sul ponticello della batteria vadano a fare contatto con la parte centrale (inferiore) della medesima, e cioè il polo negativo, senza andare a toccare il bordo esterno (che è di polo positivo)

si vedano i circoletti evidenziati in giallo nell'ultima foto

 

un'altra accortezza da usare è quelle di inserire correttamente il ponticello della batteria: da una parte l'estremità con la punta "a forchetta" va inserita (prima foto sotto, linea verde) nell'intaccatura della guarnizione tenuta ferma dalla vite (linea gialla, foro evidenziato dal circoletto giallo) e, dall'altra, si incastra sotto il perno circolettato in rosso (linea rossa)

nel cerchio azzurro un forellino utile per sistemare nella sua sede il ponticello facendo leva con la punta di una pinzetta

 

foto 2: il ponticello è sistemato correttamente, nel cerchio verde si nota la posizione dell'estremità "a forchetta" nella tacca della guarnizione (l'immagine non è perfetta, ma non mi è riuscita una messa a fuoco migliore), nel cerchio giallo l'altra estremità incastrata nel perno metallico (che collega ai circuiti il polo negativo della corrente)

 

foto 3:  si vede anche (cerchio lilla) la vite che serve per liberare la tige (è minuscola, ci vuole un giravite da 60)

 

nella foto 4 si possono apprezzare bene le dimensioni, sulla carta millimetrata, del gruppo bobine-elettronica e del diapason del cal. 221

 

da ultimo, alcune immagini tratte dal manuale di manutenzione:

- l'avvertenza riguardante il montaggio del ponticello batteria (come detto sopra)

- la modalità di regolazione anticipo/ritardo

- il posizionamento dei cricchetti e la "index wheel"

- il sistema di distacco della corrente all'estrazione della corona

 

 

 

qui sotto altre foto, con ingrandimenti, di un cal. 2210

(© crazywatches.pl, by courtesy – per gentile concessione)

 

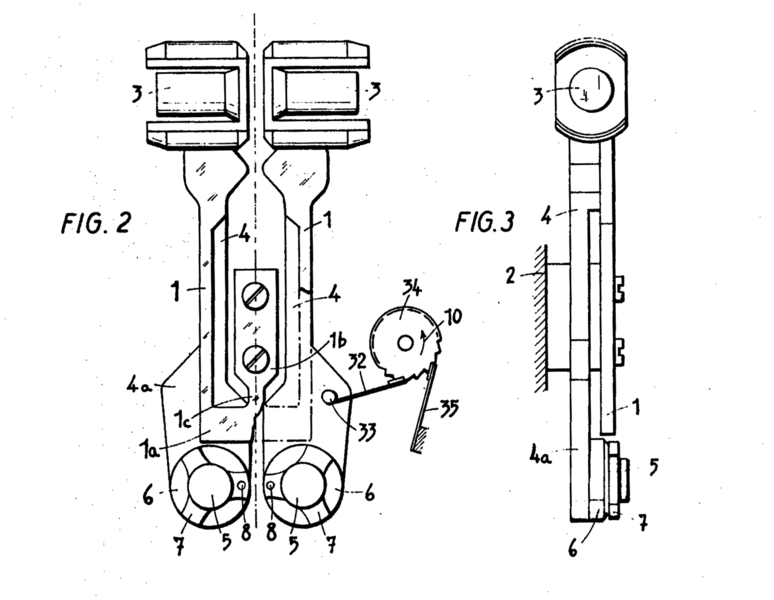
nell’ultima immagine ho evidenziato con frecce colorate il dettaglio dello “scappamento” (del quale si vede qui sopra lo schema tratto dal manuale di manutenzione):

 

- arancio: il diapason, collegato con il cricco di spinta (“index finger”) – freccia rossa

- azzurro: la “index wheel”

- verde: il cricco di ritenzione (“pawl finger”)

 

 


IL CALIBRO SERIE 230

 

 

Il più piccolo calibro Accutron, con il suo diametro di 8,75’’ (Ø 19,4 mm)

molto interessante per le soluzioni tecniche adottate

 

nelle immagini qui sotto, tratte dal manuale di manutenzione:

 

1 - i vari calibri della serie, che sono:

 

2300,  8,75'', no secondi centrali, no calendario

2301,  8,75'', con secondi centrali, no calendario

2302,  8,75'', con secondi centrali e data

2303,  8,75'', con secondi centrali, day/date

 

2312, 10,5'',  con secondi centrali e data

2313, 10,5'',  con secondi centrali, day/date

 

2, 3 - schemi di rimontaggio, dai quali si individuano i seguenti componenti :

 

711 = coil assembly

716 = tuning fork

180 A = pawl bridge

112 = index wheel

 

una delle caratteristiche è difatti, quella di avere una singola bobina sulla quale interagiscono entrambi i bracci del diapason

lo "scappamento" è invece uguale agli altri calibri simili, con due cricchetti - uno di spinta ("index finger") fissato sul diapason ed uno di ritegno ("pawl finger"), montato su di un ponte separato - che agiscono sulla ruota dentata detta "index wheel" 

 

4 - illustrazione delle modalità di regolazione avanzamento/ritardo

 

[nota: i punti contrassegnati con "V" sono quelli da lubrificare]

 

 

nella galleria alcune foto di un calibro 2302 montato su di un modello da uomo

nell’ultima si notano chiaramente i cricchetti, mentre la “index wheel” (codice 112 nelle immagini del manuale di manutenzione) è molto piccola è rimane nascosta dal ponte del treno del tempo (è sotto il rubino in basso a sinistra)

 

(© crazywatches.pl, by courtesy – per gentile concessione)

 

sotto, le immagini di un calibro 2302A in versione "Lady"

 

 

1bis Bulova Accutron:  calibri derivati

 

 

 

UNIVERSAL GENEVE

               

Unisonic D = Accutron cal. 218D

Unisonic cal. 1-51 = Accutron cal. 2180

Unisonic cal. 1-52 = Accutron cal. 2181

Unisonic cal. 1-53 = Accutron cal. 2182

        

 

CITIZEN

 

alcuni calibri:

 

3700 A = Accutron cal. 218 date  - con hacking system, senza distacco della corrente

3710 A = Accutron cal. 218 day/date  - idem come sopra

3701 A = Accutron cal. 218day/date  - con hacking system e distacco della corrente all'estrazione

                della corona

3711 A = Accutron cal. 218 date, id.c.s.

3721 A = Accutron cal. 218 solo tempo, id.c.s. 

 

3701 B = Accutron cal. 219

 

[ testo da completare]

 

 

 

22 Marzo 2017

ho avuto l'autorizzazione ad utilizzare le immagini di diversi modelli Citizen a diapason 

avevo già pubblicato quelle di un “Hisonic” cal. 3711 A (= Accutron 218 date)

ora, per non appesantire troppo la pagina, mantengo nella galleria solo alcune foto e trasferisco le altre alla nuova sezione: CITIZEN – “Galleria fotografica"

ringrazio pubblicamente l'Autore 

(© masterpemberton2009, by courtesy – per gentile concessione)

 

28 Marzo: carico le foto di due Cosmotron GX calibro 3701 B (= Accutron 219)

bellissimi entrambi, in particolare il secondo, che è in condizioni NOS e si distingue per il vetrino sfaccettato 

[© masterpemberton2009, by courtesy – per gentile concessione]

 

2 Aprile: aggiungo le immagini di un altro “Hisonic” cal. 3711 A (= Accutron 218 date) e di due cal. 3701 A  day/date (qui sotto solo alcune per ogni esemplare, le altre alla pagina CITIZEN – “Galleria fotografica")

 

[© masterpemberton2009, by courtesy – per gentile concessione]

 

 1 ter  ACCUTRON "evoluzione Swissonic" di CEH

 

 

"Electrifying the wristwatch" segnala un movimento sviluppato fra il 1963 ed il 1966 da Max Hetzel alle dipendenze di CEH, con un diapason circolare ed una frequenza di risonanza di 480 Hz (ne viene pubblicata anche una fotografia)

 

la denominazione "Swissonic" sarebbe stata scelta  da Hetzel, non c'è notizia di una specifica denominazione del calibro

 

la produzione - affidata ad una sezione speciale di CEH fa il 1966 ed il 1969, sarebbe stata di ca. 3.000 esemplari, che però non avrebbero mai raggiunto ufficialmente il mercato e rimasero allo stadio di prototipi, finendo (pare) nelle mani di fortunati collezionisti

 

da non perdere la pagina:

 

http://www.elektron.demon.co.uk/swissonic.html

 

----

 

ho trovato alcuni brevetti firmati da Max Hetzel per conto di CEH, con i disegni del caratteristico diapason a forma "circolare" 

 

si tratta specificatamente delle immagini relative a:

 

- risonatore a diapason (brevetto US 3486049)

- diapason e circuito (brevetto US 3504301)

- diapason e bobina, più disegni del movimento completo (in tutto 4 immagini dal brevetto

   US 3283495)

 

 

2 ESA, MOSABA

 

 

1966:  Max Hetzel torna in Svizzera dagli Stati Uniti ed inizia a lavorare per la ESA al “Laboratoire Suisse de Recherches Horlogère (LSRH) ed al “Centre èlectronique horlogère (CEH) per sviluppare il  MOSABA (MOuvement SAns BAlancier)

1967: il CEH presenta un prototipo denominato Swissonic 100 alla Fiera di Basilea, ma sorgono problemi con i brevetti della Bulova che ne bloccano la produzione

1968: accordo sui brevetti fra ESA e Bulova

1969: vengono venduti i primi orologi con il calibro ESA 9162

1970: la ESA chiede alla Dubois Dépraz di sviluppare segretamente un movimento cronografico per il cal. 9162, il nuovo calibro sarà il 9210 (unico movimento cronografico al diapason della storia)

1972: viene presentato il cronografo Swissonic 100 cal. 9210, entra in produzione il cal. 9164 (day/date)

1976: cessa la produzione del MOSABA

1990: la Technos Neuchatel Switzerland presenta alla Fiera di Basilea una serie limitata del “Technos Mosaba” con movimenti prodotti da vecchi componenti dell’ESA 9162

 

Il movimento MOSABA-ESA (9162 e 9164) fu adottato da diverse Case con denominazioni particolari:

Tronosonic di Baume & Mercier (cal. 19162, 19164  – montato anche da Bucherer),   Eterna-Sonic di Eterna (cal. 1550.740 e 1551.742) Ultronic di Longines (cal. 6312 e 6332), XL-Tronic (cal. 500 e 505) di Movado e Zenith (anche con i marchi Mondia e Allegro  - per il mercato USA), Tissonic di Tissot (cal. 2010 e 2020), Electronic F300 Hz di Omega (cal. 1250 e 1260), Electrosonic di Rado (cal 740 e 742), Electronic di IWC (cal. C-150 e C-160), Certronic (o: C-Tronic) di Certina (cal. 29-151 e 29-152), Tuning Fork di Solvil & Titus (movimento non marcato), Tuning Fork di Imado

  

NOTE: - Esistono prototipi ed esemplari ad uso scolastico del cal. 9162, con il solo logo della ESA o, anche, con la dicitura “Swissonic 100” (vedi  ESA alla voce "produttori/marchi)

           - Il modello “Mosaba” della Derby dovrebbe fare parte di questi, dato che il marchio “Derby”apparteneva alla ESA

           - Contrariamente a quanto si legge da più parti l’Unisonic di Universal Genéve (cal. 1-52 e 1-53) è  una diretta derivazione dell’Accutron (alla stessa stregua dell’Hisonic di Citizen) e non ha nulla a che vedere con il Mosaba

           - La produzione dell’ESA 9210 cronografo si limitò a 21.000 esemplari in totale, installati da Omega (Speedsonic F 300 Hz cal. 1255), Longines (Cronograph Ultronic cal. 749.2), Baume & Mercier (cal. 19210) e Certina (Chronolympic C-Tronic cal. 749)

             Ne esistono prototipi/modelli dimostrativi  marcati “Derbysonic” o, anche, senza alcuna denominazione sul quadrante

 

Icalibri ESA 9162, 9164 e 9210 fanno parte della linea “Swissonic 100”

al proposito si veda alla voce ESA dell'alfabetico

 

EW segnala l'esistenza di calibri più economici del 9162 e del 9164, numerati rispettivamente 536.111 e 536.121, prodotti a Hong Kong (senza l'indicazione "swiss made"). non so tuttavia da quali Case vennero utilizzati 

 

nella galleria alcuni modelli animati dal MOSABA/ESA (oltre ad un calibro nuovo fondo di magazzino), ed alcuni disegni allegati al brevetto depositato dalla ESA per tale movimento (US 3604202)

 

[ testo da completare]

 

MOSABA ESA 9162-9164: estratto manuale di uso e manutenzione

 

 

la precisione del MOSABA, secondo il manuale di uso e manutenzione, alle pagine relative alla regolazione del movimento, risente del serraggio del fondello (vedi immagine a lato)

 

 

 

 

 

 

 

 

 

 

 

 

 

 

 

 

 

3 Omega F720 Megasonic

 

 

 

1973:  Il movimento F 720  Megasonic viene presentato alla Fiera di Basilea. Anche questo calibro era stato sviluppato da Max Hetzel ed ha due particolarità: il diapason asimmetrico che operava a 720 Hz anziché 300 Hz come il Mosaba ed il micromotore a trasmissione magnetica senza contatto meccanico. Si tratta dell’estrema  ed ultima evoluzione del movimento a diapason. Fu definito  “Accutron killer” per la sua precisione

 

Calibri: 1220 (data) e 1230 (giorno/data), produzione totale: 43.000 esemplari.

Come dalla tabella riportata sotto, sul sito ufficiale Omega risultano prodotti undici modelli in tutto, dei quali uno da tasca della serie De ville  e lo splendido e raro Seamaster ref. ST 398.0822 detto “Lobster” (o: langouste) per la forma del bracciale integrato (ref. 1212/230)

 

riferimenti:

 

http://electric-watches.co.uk/makers/omega/omega-megasonic/

 

filmati:

 

http://www.youtube.com/watch?v=wvIeSQ-NOH0

 

 

http://www.youtube.com/watch?v=OgjRyfJVKLo

 

 

http://www.youtube.com/watch?v=YkFsAVECBWA

 

 

[ testo da correggere e completare ]

 

 

modelli e referenze dell’Omega Megasonic come risultanti dal sito ufficiale della Maison

 

 

referenza

serie

nome modello

versione

 

calibro

crono-metro

brac-ciale

anno di produzione

ST 198.0038

Constellation

Megasonic

acciaio

1220

si

no

1973 - 1977

ST 198.0068

Genève

Electronic

acciaio

1220

si

no

1974

ST 198.1742

De Ville

Electronic – da tasca

 

acciaio

 

1220

 

si

 

----

1973 - 1977

ST 398.0819

Constellation

Electronic

acciaio

1220

si

si

1973

ST 398.0820

Constellation

Megasonic

acciaio

1230

si

si

1973

ST 398.0822

Seamaster

Megasonic

acciaio

1230

si

(lob-ster)

1973

ST 398.0825

Seamaster

Megasonic

acciaio

1230

si

si

1974

ST 398.0827

Constellation

Megasonic

acciaio

1220

si

si

1974 - 1977

ST 398.0828

Constellation

Megasonic

acciaio

1220

si

si

1974 - 1975

ST 398.0829

Constellation

Megasonic

acciaio

1230

si

si

1973

ST 398.0835

Genève

Megasonic

acciaio

1220

si

si

1973

 

 

ho anche documentazione di esemplari con le referenze seguenti:

 

Genève cal. 1220 cassa pl. oro 20 micron referenza 198.0065

Genève cal. 1230 cassa pl. oro 20 micron referenza 198.0066

Constellation cal. 1230 cassa in oro 18 Kt  referenza 198.0039

Constellation cal. 1230 cassa acciaio bracciale integrato ref. 198.0048

Constellation cal. 1230 gold capped 14 Kt  referenza CD 198.0030 (?)

 

(non ho trovato riscontri precisi sul sito della Casa - p.es. la referenza 198.0030 corrisponderebbe ad un Genève F 300 in acciaio del 1972)

 

 

4 Jeco

 

 

Movimento a diapason della Japan-Electric-Clock Co. di Tokio, forse mai commercializzato

La Jeco produsse inoltre orologi a diapason su licenza della Bulova

 

un movimento da parete (con indicato: su licenza Bulova), composto da una staffa che interagisce con una bobina (probabilmente lo stesso principio del diapason) alle pagine:

 

http://www.mechanikus.hu/c_Jeco.htm

 

http://www.mechanikus.hu/CAL_Jeco.htm

 

http://www.mechanikus.hu/CAL_JecoY604_big1.htm

 

nelle immagini qui sotto un orologio da parete LORENZ con movimento JECO: nella seconda foto di quest'ultimo ho evidenziato l'elemento a diapason (freccia gialla) e una delle bobine visibile dall'esterno (freccia verde)

 

sul carterino in plastica sono indicati due brevetti registrati negli USA (3208287 e 3277644), che sono recuperabili agli indirizzi:

 

http://www.google.it/patents/US3208287

 

http://www.google.it/patents/US3277644

 

ho aggiunto nella galleria anche copia di alcuni dei disegni allegati alle licenze di privativa

 

 

i movimenti a diapason della JECO erano montati anche su alcuni modelli della SOLARI di Udine, oggetti che oggi fanno parte della storia del design

per vederne delle immagini basta fare una semplice ricerca:  

 

https://www.google.it/search?q=solari+udine+diapason&rlz=1C1AVNE_enIT672IT673&espv=2&biw=1366&bih=681&source=lnms&tbm=isch&sa=X&ved=0ahUKEwjjrJfH3c7KAhVDWhoKHV5pChk4ChD8BQgGKAE&dpr=1

 

si trovano parecchi post su diversi fora a proposito di questi movimenti, ne cito due come esempio:

 

http://www.orologiko.it/forum/viewtopic.php?t=9542

 

http://www.orologiko.it/forum/viewtopic.php?t=14578

 

su Youtube si può vedere un LORENZ modello "pupilla" con movimento JECO:

 

https://www.youtube.com/watch?v=A3yn_B0vpRI

 

5 Slava

 

Si narra che Breznev, ricevuto dall’allora Presidente USA Nixon, ricevette in dono un Bulova Accutron. Al ritorno nel suo Paese ordinò ai tecnici locali di produrne uno uguale: ne derivò l’orologio al diapason “камертон” (= diapason) cal. 2937 prodotto dalla “First Moscow Watch Co.”  detta anche Slava, che vide la luce con parecchi problemi, fra i quali la difficoltà di realizzare a Mosca il minuscolo ingranaggio con 360 denti tipico del movimento Accutron … dopo un tempo considerevole si scoprì che … erano le vibrazioni della metropolitana a costituire l’ostacolo, poi risolto portando fuori Mosca lo stabilimento.

Mi risulta che, comunque, la produzione totale fu di solo un migliaio di esemplari.

 

riferimenti: 

 

http://forums.watchuseek.com/f10/slava-transistor-really-rare-427934-2.html

 

http://www.hknebel.org/Uhren/Art/Russische_Uhren/Slava/Transistor/transistor.html

 

http://www.accutrons.com/pages/slava.html  

 

molto interessante quest'altro link, che riporta ad immagini non solo dello SLAVA, ma anche di due altri "cloni" dell'Accutron, uno prodotto nell'allora Cecoslovacchia dalla PRIM, e l'altro dalla cinese TIANJIN:

 

 http://www.decadecounter.com/accutron/clones.htm

 

 

                                          

 

per la navigazione seguire l'indice principale in alto ed i sottoindici a sinistra

 

cliccando sulla foto del Megasonic sopra il titolo si torna alla homepage

 

si può anche andare direttamente alla mappa del sito:

 

cliccare in basso a sinistra (nella fascia blu subito sopra il ©)

 

oppure qui sotto (si apre un'altra finestra)

utilizzando i vari links si apre un'altra pagina o si viene spostati su quella che viene richiamata nell'indirizzo (a seconda delle Vostre impostazioni)

in quest'ultimo caso per tornare indietro utilizzate l'apposito tasto del browser (anche, il "back" della tastiera, oppure alt + freccia sinistra se usate Chrome)

per essere sicuri di aprire il link in una nuova pagina ("scheda" o "finestra") cliccatevi sopra con il tasto destro del mouse ed utilizzate l'opzione corrispondente 

sTO CARICANDO LE PAGINE E LE IMMAGINI UN PO' PER VOLTA

LA TRATTAZIONE DI MOLTI ARGOMENTI E' ANCORA DA COMPLETARE

IL CONTENUTO E' SOGGETTO A MODIFICHE O REVISIONI

CERCHERO' DI DARE CONTO DEI PROGRESSI NELLA PAGINA "CRONOLOGIA" E SU TWITTER

abbreviazioni usate nel testo (autori e fonti):

 

DO = Doensen, “Watch. History of the modern wristwatch” /

doensen.home.xs4all.nl

EL = electric-watches.co.uk

EK = “Elektrik am Handgelenk”

GW = “Complete Price Guide to Watches” 

CW = crazywatches.pl

KN = hknebel.org

HW = hwynen.de

EW = “Electrifying the wristwatch”

RW = "The electric watch repair manual"

EU = "Elektrische und elektronische Uhren"

Stampa | Mappa del sito
© 2014 - 2022 - F.B.S., Torino, Italia - www.orologi-elettrici.it

questo è un sito amatoriale, senza fini pubblicitari o di lucro
sono state inserite soltanto fotografie scattate personalmente dall'autore o per le quali - se non di pubblico dominio - l'autore ha avuto espressa autorizzazione alla pubblicazione
non vi è alcun collegamento con Case produttrici, rivenditori, distributori e/o relativi marchi